Размер шрифта
Цвет фона и шрифта
Изображения
Озвучивание текста
Обычная версия сайта
МПО ПРОМЕТЕЙ
Работаем для Вас
уже более 5 лет!
7 (922) 178-81-77
7 (922) 178-81-77
8(800)550-83-35
E-mail
zakaz@mpo-prometey.ru
info@mpo-prometey.ru
Адрес
г. Владивосток, ул.Адмирала Фокина 6
Режим работы
Пн. – Пт.: с 9:00 до 18:00 Сб. - Вс.: выходные
Каталог
  • Дорожные металлические трубы
    • Трубы ЛМГ (МГК)
    • Спиральновитые трубы (ГСМТ)
    • Гофрированные арки
  • Барьерные дорожные ограждения
    • Дорожные ограждения 11ДО
    • Дорожные ограждение 11ДД
    • Мостовые ограждения 11МО
    • Тросовое ограждение 23ДД
  • Пешеходное ограждение
  • Опоры освещения металлические
    • Несиловые опоры освещения
    • Силовые опоры освещения
Услуги
  • Строительно-монтажные работы
    • Установка пешеходного ограждения
    • Защитное покрытие металлоконструкций
    • Монтаж гофрированных труб
  • Установка барьерного ограждения
  • Инженерное сопровождение
  • Инженерный расчет
Калькулятор
Доставка и оплата
О предприятии
  • О предприятии
  • Благодарственные письма
  • Вакансии
  • ГОСТы и техническая документация
  • Реквизиты
  • Статьи
  • Новости
Фотогалерея
Контакты
Владивосток
Владивосток
г. Владивосток, ул.Адмирала Фокина 6
Пн. – Пт.: с 9:00 до 18:00; Сб. – Вс.: выходные
zakaz@mpo-prometey.ru
7 (922) 178-81-77
7 (922) 178-81-77
8(800)550-83-35
E-mail
zakaz@mpo-prometey.ru
info@mpo-prometey.ru
Адрес
г. Владивосток, ул.Адмирала Фокина 6
Режим работы
Пн. – Пт.: с 9:00 до 18:00 Сб. - Вс.: выходные
+7 (922) 178-81-77
Заказать звонок
МПО ПРОМЕТЕЙ
Работаем для Вас
уже более 5 лет!
Каталог
  • Дорожные металлические трубы
    Дорожные металлические трубы
    • Трубы ЛМГ (МГК) —
    • Спиральновитые трубы (ГСМТ) —
    • Гофрированные арки
  • Барьерные дорожные ограждения
    Барьерные дорожные ограждения
    • Дорожные ограждения 11ДО —
    • Дорожные ограждение 11ДД —
    • Мостовые ограждения 11МО —
    • Тросовое ограждение 23ДД
  • Пешеходное ограждение
    Пешеходное ограждение
  • Опоры освещения металлические
    Опоры освещения металлические
    • Несиловые опоры освещения —
    • Силовые опоры освещения
Услуги
  • Строительно-монтажные работы
    Строительно-монтажные работы
    • Установка пешеходного ограждения —
    • Защитное покрытие металлоконструкций —
    • Монтаж гофрированных труб
  • Установка барьерного ограждения
    Установка барьерного ограждения
  • Инженерное сопровождение
    Инженерное сопровождение
  • Инженерный расчет
    Инженерный расчет
Калькулятор
Доставка и оплата
О предприятии
  • О предприятии
  • Благодарственные письма
  • Вакансии
  • ГОСТы и техническая документация
  • Реквизиты
  • Статьи
  • Новости
Фотогалерея
Контакты
    МПО ПРОМЕТЕЙ
    Каталог
    • Дорожные металлические трубы
      Дорожные металлические трубы
      • Трубы ЛМГ (МГК) —
      • Спиральновитые трубы (ГСМТ) —
      • Гофрированные арки
    • Барьерные дорожные ограждения
      Барьерные дорожные ограждения
      • Дорожные ограждения 11ДО —
      • Дорожные ограждение 11ДД —
      • Мостовые ограждения 11МО —
      • Тросовое ограждение 23ДД
    • Пешеходное ограждение
      Пешеходное ограждение
    • Опоры освещения металлические
      Опоры освещения металлические
      • Несиловые опоры освещения —
      • Силовые опоры освещения
    Услуги
    • Строительно-монтажные работы
      Строительно-монтажные работы
      • Установка пешеходного ограждения —
      • Защитное покрытие металлоконструкций —
      • Монтаж гофрированных труб
    • Установка барьерного ограждения
      Установка барьерного ограждения
    • Инженерное сопровождение
      Инженерное сопровождение
    • Инженерный расчет
      Инженерный расчет
    Калькулятор
    Доставка и оплата
    О предприятии
    • О предприятии
    • Благодарственные письма
    • Вакансии
    • ГОСТы и техническая документация
    • Реквизиты
    • Статьи
    • Новости
    Фотогалерея
    Контакты
      Владивосток
      7 (922) 178-81-77
      8(800)550-83-35
      E-mail
      zakaz@mpo-prometey.ru
      info@mpo-prometey.ru
      Адрес
      г. Владивосток, ул.Адмирала Фокина 6
      Режим работы
      Пн. – Пт.: с 9:00 до 18:00 Сб. - Вс.: выходные
      МПО ПРОМЕТЕЙ
      Телефоны
      7 (922) 178-81-77
      8(800)550-83-35
      E-mail
      zakaz@mpo-prometey.ru
      info@mpo-prometey.ru
      Адрес
      г. Владивосток, ул.Адмирала Фокина 6
      Режим работы
      Пн. – Пт.: с 9:00 до 18:00 Сб. - Вс.: выходные
      МПО ПРОМЕТЕЙ
      • Каталог
        • Каталог
        • Дорожные металлические трубы
          • Дорожные металлические трубы
          • Трубы ЛМГ (МГК)
          • Спиральновитые трубы (ГСМТ)
          • Гофрированные арки
        • Барьерные дорожные ограждения
          • Барьерные дорожные ограждения
          • Дорожные ограждения 11ДО
          • Дорожные ограждение 11ДД
          • Мостовые ограждения 11МО
          • Тросовое ограждение 23ДД
        • Пешеходное ограждение
        • Опоры освещения металлические
          • Опоры освещения металлические
          • Несиловые опоры освещения
            • Несиловые опоры освещения
            • Опора несиловая фланцевая граненая НФГ
            • Опоры освещения граненые коническая ОГК
          • Силовые опоры освещения
            • Силовые опоры освещения
            • Опоры граненные силовые ОГС
            • Опоры силовые фланцевые граненые СФГ
      • Услуги
        • Услуги
        • Строительно-монтажные работы
          • Строительно-монтажные работы
          • Установка пешеходного ограждения
          • Защитное покрытие металлоконструкций
          • Монтаж гофрированных труб
        • Установка барьерного ограждения
        • Инженерное сопровождение
        • Инженерный расчет
      • Калькулятор
      • Доставка и оплата
      • О предприятии
        • О предприятии
        • О предприятии
        • Благодарственные письма
        • Вакансии
        • ГОСТы и техническая документация
        • Реквизиты
        • Статьи
        • Новости
      • Фотогалерея
      • Контакты
      • Владивосток
        • Города
        • Астрахань
        • Барнаул
        • Белгород
        • Владивосток
        • Владикавказ
        • Волгоград
        • Воронеж
        • Екатеринбург
        • Иваново
        • Иркутск
        • Казань
        • Калининград
        • Краснодар
        • Красноярск
        • Москва
        • Нижний Новгород
        • Новосибирск
        • Новый Уренгой
        • Омск
        • Пермь
        • Ростов-на-Дону
        • Рязань
        • Самара
        • Санкт-Петербург
        • Саратов
        • Севастополь
        • Симферополь
        • Сочи
        • Тверь
        • Тюмень
        • Ульяновск
        • Уфа
        • Хабаровск
        • Челябинск
        • Якутск
        • Ярославль
      • 7 (922) 178-81-77
        • Телефоны
        • 7 (922) 178-81-77
        • 8(800)550-83-35
      • г. Владивосток, ул.Адмирала Фокина 6
      • zakaz@mpo-prometey.ru
        info@mpo-prometey.ru
      • Пн. – Пт.: с 9:00 до 18:00 Сб. - Вс.: выходные

      Барьерные ограждения 11ДО

      Главная
      —
      Продукты
      —
      Металлические барьерные дорожные ограждения
      —Барьерные ограждения 11ДО
      Фильтр
      По популярности (возрастание)
      По наименованию (А-Я)
      По наименованию (Я-А)
      По популярности (возрастание)
      По популярности (убывание)
      По цене (сначала дешёвые)
      По цене (сначала дорогие)
      Фильтр
      Статус
      Показать:
      Выбрано: 0 Показать
      Выбрано: 0
      Дорожное ограждение 11ДО-4-130 кДж У1
      Дорожные ограждения 11ДО
      Дорожное ограждение 11ДО-4-130 кДж У1
      В наличии
      ГОСТ — 26804-2012
      Покрытие — гор.цинк.
      СТО — 35427189-001-2019
      Шаг стойки, м — 4
      Дорожное ограждение 11ДО-3-350 кДж У5
      Дорожные ограждения 11ДО
      Дорожное ограждение 11ДО-3-350 кДж У5
      В наличии
      ГОСТ — 26804-2012
      Покрытие — 350
      СТО — 35427189-001-2019
      Шаг стойки, м — 3
      Дорожное ограждение 11ДО-3-130 кДж У1
      Дорожные ограждения 11ДО
      Дорожное ограждение 11ДО-3-130 кДж У1
      В наличии
      ГОСТ — 26804-2012
      Покрытие — гор.цинк.
      СТО — 35427189-001-2019
      Шаг стойки, м — 3
      Дорожное ограждение 11ДО-2,5-190 кДж У2
      Дорожные ограждения 11ДО
      Дорожное ограждение 11ДО-2,5-190 кДж У2
      В наличии
      ГОСТ — 26804-2012
      Покрытие — гор.цинк.
      СТО — 35427189-001-2019
      Шаг стойки, м — 2,5
      Дорожное ограждение 11ДО-2-500 кДж У8
      Дорожные ограждения 11ДО
      Дорожное ограждение 11ДО-2-500 кДж У8
      В наличии
      ГОСТ — 26804-2012
      Покрытие — гор.цинк.
      СТО — 35427189-001-2019
      Шаг стойки, м — 3
      Дорожное ограждение 11ДО-2-450 кДж У7
      Дорожные ограждения 11ДО
      Дорожное ограждение 11ДО-2-450 кДж У7
      В наличии
      ГОСТ — 26804-2012
      Покрытие — гор.цинк.
      СТО — 35427189-001-2019
      Шаг стойки, м — 2
      Дорожное ограждение 11ДО-2-250 кДж У3
      Дорожные ограждения 11ДО
      Дорожное ограждение 11ДО-2-250 кДж У3
      В наличии
      ГОСТ — 26804-2012
      Покрытие — гор.цинк.
      СТО — 35427189-001-2019
      Шаг стойки, м — 2
      Дорожное ограждение 11ДО-2-190 кДж У2
      Дорожные ограждения 11ДО
      Дорожное ограждение 11ДО-2-190 кДж У2
      В наличии
      ГОСТ — 26804-2012
      Покрытие — гор.цинк.
      СТО — 35427189-001-2019
      Шаг стойки, м — 2
      Дорожное ограждение 11ДО-1,5-300 кДж У4
      Дорожные ограждения 11ДО
      Дорожное ограждение 11ДО-1,5-300 кДж У4
      В наличии
      ГОСТ — 26804-2012
      Покрытие — гор.цинк.
      СТО — 35427189-001-2019
      Шаг стойки, м — 1,5
      Дорожное ограждение 11ДО-1-450 кДж У7
      Дорожные ограждения 11ДО
      Дорожное ограждение 11ДО-1-450 кДж У7
      В наличии
      ГОСТ — 26804-2012
      Покрытие — гор.цинк.
      СТО — 35427189-001-2019
      Шаг стойки, м — 1
      1 2 3

      Безопасность дорожного движения на автомобильных магистралях формируется комплексом различных мер, но наиболее эффектны барьеры. Для обочин трасс предназначены дорожные ограждения 11ДО. Односторонние металлоконструкции производят по ГОСТ 26804.2012, они предназначены для отделения проезжей части от прилегающей территории, предотвращения выезда машин из транспортного потока, перехода людьми и животными дороги в непредназначенных для этого местах. Поскольку 11ДО – это фактическая преграда, то на участках магистралей, где они установлены, существенно снижается количество ДТП.

      Разновидности 11ДО и их преимущества

      Конструкции поставляются комплектами, собираются на месте установки. Монтаж технологичен, для сборки предусмотрен крепеж. В МПО «Прометей» можно заказать одно и двуярусные барьеры с удерживающей способностью от 130 до 560 кДж. Есть модели, комплектуемые консолями с амортизацией и без. Типовая схема монтажа предусматривает начальный и конечный участок, на них размещают специальные сегменты – 11ДО-Н и 11ДО-K. Оставшаяся дистанция заполняется рабочими – 11ДО-S.

      На все детали наносится защитное покрытие посредством горячей оцинковки, что обеспечивает большой рабочий ресурс – до 50 лет.

      • эффективность функционала за счет высокой жесткости и прочности;

      • простота транспортировки, технологичность монтажа, что разрешает быстро сформировать безопасные условия движения на участках дорог любого протяженности;

      • стойкость к любым негативным воздействиям окружающей среды: от ультрафиолетового излучения до дорожных реагентов.

      Барьерные ограждения вдоль автотрасс нуждаются в техобслуживании, порядок и сроки определены СТО 35427189-001-2019.

      Купить дорожное ограждение 11ДО во Владивостоке

      МПО «Прометей» предлагает организациям и частным лицам металлические конструкции для безопасности на автотрассах в типовой и специальной комплектации. Мы сами изготавливаем их, цены – от производителя, одни из лучших в отрасли РФ. Заявки на поставку металлопродукции клиенты из Владивостока и Приморского края могут подать дистанционно. Мы поддерживаем на складах значительные объемы комплектов – возможна оперативная отгрузка больших партий. Наше монтажно-производственное объединение принимает заказы на установку дорожных барьеров, опытные монтажники выполняют работы согласно действующим регламентам, по лучшим отраслевым технологиям.

      Калькулятор барьерных ограждений


      Ограждения дорожные 11ДО с жесткими консолями
      Обозна-чение марки Высота ограж-дения , м Уровень удерживающей способности Сечение стойки - швеллер Толщина листа балки , мм Шаг стоек , м Прогиб динамический , м Заглубление стоек в грунт, (минимальное), м
      11-ДО 0,75 У1 N 12 3 2,0 1,50 1,10
      N 14* 4,0 1,50 1,10
      N 12 4 2,5 1,50 1,10
      N 14 3,0 1,50 1,10
      У2 N 12 3 1,5 1,50 1,10
      N 14* 2,0 1,25 1,10
      N 16 2,5 1,25 1,10
      N 14 4 2,0 1,25 1,10
      N 16** 4,0 1,50 1,10
      У3 N 14* 3 1,33 1,50 1,20
      N 16** 2,0 1,50 1,20
      N 12 4 1,0 1,50 1,10
      N 14* 1,5 1,25 1,10
      N 16** 2,0 1,0 1,10
      У4 N 16** 3 1,5 1,00 1,20
      N 14* 4 1,0 1,25 1,10
      N 16** 2,0 1,10 1,10

      * Могут быть применены стойки из гнутого С-образного профиля 12055185 мм по ГОСТ 8282.*

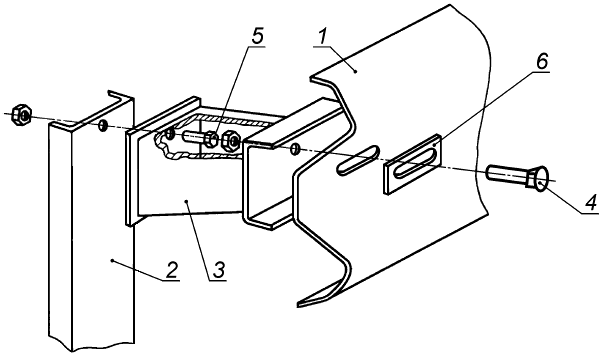
      1 - балка; 2 - стойка; 3 - консоль жесткая; 4 - болт М1645.5.8; 5 - болт М1630.5.8; 6 - шайба 80404 мм
      Рисунок 1 - Одностороннее дорожные ограждение с жесткой консолью.

      Односторонние дорожные ограждения с консолями-амортизаторами
      Обозначение марки Высота ограждения , м Уровень удерживающей способности Сечение стойки - двутавр Толщина листа балки , мм Шаг стоек , м Прогиб динамический , м Эскиз
      11-ДО 0,75 У1 N 12 3 2,5 1,0 Барьерные ограждения
      N 12 4 3,0 1,25 Барьерные ограждения
      У2 N 12 3 1,5 1,0 Барьерные ограждения
      N 12 4 2,0 1,0 Барьерные ограждения
      N 14 2,5 1,25 Барьерные ограждения
      У3 N 12 3 1,0 1,0 Барьерные ограждения
      N 12 4 1,0 1,0
      N 14 2,0 1,0 Барьерные ограждения
      У4 N 14 4 1,0 1,0 Барьерные ограждения
      • Дорожные металлические трубы
        • Трубы ЛМГ (МГК)
        • Спиральновитые трубы (ГСМТ)
        • Гофрированные арки
      • Барьерные дорожные ограждения
        • Дорожные ограждения 11ДО
        • Дорожные ограждение 11ДД
        • Мостовые ограждения 11МО
        • Тросовое ограждение 23ДД
      • Пешеходное ограждение
      • Опоры освещения металлические
        • Несиловые опоры освещения
          • Опора несиловая фланцевая граненая НФГ
          • Опоры освещения граненые коническая ОГК
        • Силовые опоры освещения
          • Опоры граненные силовые ОГС
          • Опоры силовые фланцевые граненые СФГ
      Компания
      О предприятии
      Благодарственные письма
      Вакансии
      ГОСТы и техническая документация
      Реквизиты
      Статьи
      Новости
      Каталог
      Дорожные металлические трубы
      Барьерные дорожные ограждения
      Пешеходное ограждение
      Опоры освещения металлические
      Услуги
      Строительно-монтажные работы
      Установка барьерного ограждения
      Инженерное сопровождение
      Инженерный расчет
      Офис: г. Екатеринбург,
ул. Высоцкого, 4б, оф. 24
      Производство: г. Екатеринбург, ул. Цвиллинга, дом 7ч
      Часы работы:
      Пн. – Пт.: с 9:00 до 18:00
      Сб. – Вс.: выходные
      7 (922) 178-81-77
      7 (922) 178-81-77
      8(800)550-83-35
      Режим работы
      Пн. – Пт.: с 9:00 до 18:00 Сб. - Вс.: выходные
      zakaz@mpo-prometey.ru
      info@mpo-prometey.ru
      Доставка и оплата
      Сертификаты
      Реквизиты
      Контакты
      © 2026 "mpo-prometey.ru"
      Все права защищены.
      Политика конфиденциальности
      Карта сайта
      Разработка и продвижение сайта
      Калькулятор
      Главная Каталог Услуги Контакты